Mk1 Stockton 8 Flat Top Double Sided Wood Burning Stove – Launched 2007 – Discontinued, limited parts available
7113SD 7113SDBL 7113SDBR 7113SDGR 7113SDHC 7113SDHCBL 7113SDHCBR 7113SDHCGR
| Ref. | Product Code | Description | Price (inc VAT) | Quantity | ||||
|---|---|---|---|---|---|---|---|---|
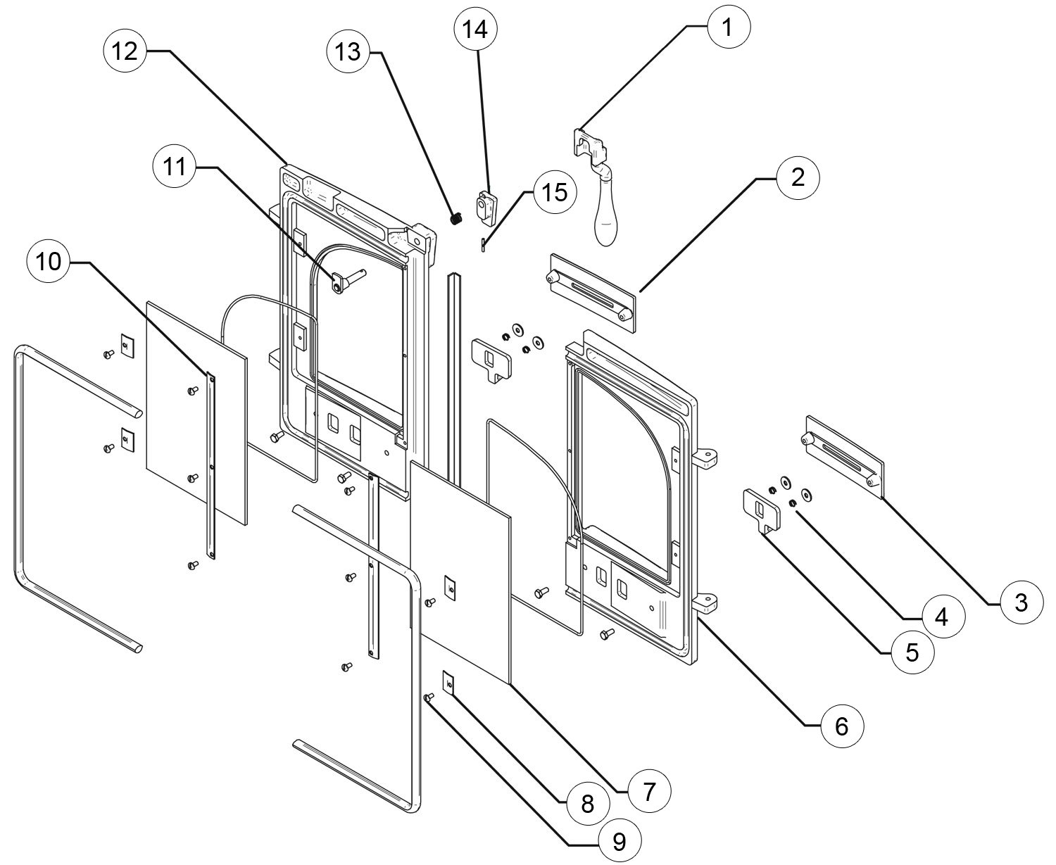
| 1 | SM14 | Stockton 7/8/11/14 HB Boiler Mk1 6" Flue Adapter | This part is now obsolete and can no longer be ordered as a spare. | |||||
| 1 | M0620HHS | M6 x 20mm Hex Head Screw - Single Screw | In Stock £0.79 | |||||
| 1 | M06NUTO | M6 Nut - Single Nut | In Stock £0.50 | |||||
| 2 | ST8-MEC8800 | Stockton 8/11 Double Sided - Baffle Support Tubes | In Stock £28.31 | |||||
| 3 | SM19 | M6 x 70mm Coachbolt - Single Bolt | In Stock £2.05 | |||||
| 4 | CA7682 | County/Stockton/View 8/5/CL8 Log Guard | In Stock £40.24 | |||||
| 5 | SM21 | M12 x 6mm Hinge Block Locking Nut - Single Nut | In Stock £1.78 | |||||
| 6 | SM18 | ![]() |
M12 x 35mm Hinge Block Stud - Single Stud | In Stock £10.70 | ||||
| 7 | SM10 | Stockton Hinge Block | In Stock £19.09 | |||||
| 8 | ST82DR | Stockton 8 Mk1 Double Door Frame Assembly without Glass Door frame Set (Left & Right) including Door Tool
| This part is now obsolete and can no longer be ordered as a spare. | |||||
| 9 | SM20 | Stockton Door Hinge Pin | In Stock £2.10 | |||||
| 10 | CE7018 | Stockton 8/5 Wide Double Door Glass - Single Piece Dimensions: 186x275x4mm
| In Stock £44.68 | |||||
| 11 | SM2.30 | Stockton 8 Mk1/5 Wide Double Door Airwash Slider | This part is now obsolete and can no longer be ordered as a spare. | |||||
| 12 | SM2.11 | Stockton 8 Mk1 Double Door Airwash Control Chamber | This part is now obsolete and can no longer be ordered as a spare. | |||||
| 13 | SM12 | Stockton 8 Mk1 Airwash Deflector Plate | This part is now obsolete and can no longer be ordered as a spare. | |||||
| 14 | SM26SD | Stockton 8 Double Sided - Baffle Plate | This part is now obsolete and can no longer be ordered as a spare. | |||||
| 4951 | 10mm x 2mm Black Insulation Tape Seal - 2m Pack | In Stock £20.75 | ||||||
Do you have the correct appliance?
Before ordering your parts please ensure you have selected the correct appliance. To properly identify your appliance you will need to know your serial number and/or model number. Please use the following guide to help locate your data badge which contains your serial and model number information.
| Ref. | Product Code | Description | Price (inc VAT) | Quantity | ||||
|---|---|---|---|---|---|---|---|---|
| 1 | SM2.23 | ![]() |
Stockton Mk1 Double Door Tool
This part will soon be obsolete |
In Stock £16.80 | ||||
| 2 | SM2.3RH | Stockton 5 Wide/8 Right Hand Air Control Cover | This part is now obsolete and can no longer be ordered as a spare. | |||||
| 3 | SM2.3 | Stockton 8/5 Wide Left Hand Air Control Cover | This part is now obsolete and can no longer be ordered as a spare. | |||||
| 4 | FA9065 | Slider Spring | This part is now obsolete and can no longer be ordered as a spare. | |||||
| 5 | SM4SD | Stockton 8 Double Sided/14 HB Boiler Mk1 Air Control Slider Only suitable for MK1 door frame
| This part is now obsolete and can no longer be ordered as a spare. | |||||
| 6 | N/A | Left Hand Door Casting
| This part is not currently available. | |||||
| 7 | CE7018 | Stockton 8/5 Wide Double Door Glass - Single Piece Dimensions: 186 x 275mm (w x h)
| In Stock £44.68 | |||||
| 8 | SM16 | ![]() |
Stockton Glass Clip | In Stock £7.43 | ||||
| 9 | SM29 | M5 x 8mm Button Head Screw - Single Screw | In Stock £0.49 | |||||
| 10 | SM2.16 | Stockton 8 Mk1 Long Glass Clip | In Stock £49.39 | |||||
| 11 | SM2.17 | ![]() |
Stockton 8 Mk1 Door Spindle and Catch Assembly Only suitable for MK1 door frame
| This part is now obsolete and can no longer be ordered as a spare. | ||||
| 12 | N/A | Right Hand Door Casting
| This part is not currently available. | |||||
| 13 | FA9017 | Airwash Spinner Spring | In Stock £3.16 | |||||
| 14 | SM2.7 | ![]() |
Stockton 5 Wide/8/11/14 Door Knob
This part will soon be obsolete |
In Stock £14.70 | ||||
| 15 | YM-F00004 | 3mm x 18mm Spiriol Pin - Single Pin | In Stock £0.55 | |||||
| 5000 | 14mm Door Rope Seal with Adhesive - 2m Pack | In Stock £31.00 | ||||||
| 4975 | 3mm Glass Rope Seal with Adhesive - 2m Pack | In Stock £17.40 | ||||||
| 4951 | 10mm x 2mm Black Insulation Tape Seal - 2m Pack | In Stock £20.75 | ||||||
Do you have the correct appliance?
Before ordering your parts please ensure you have selected the correct appliance. To properly identify your appliance you will need to know your serial number and/or model number. Please use the following guide to help locate your data badge which contains your serial and model number information.
| Ref. | Product Code | Description | Price (inc VAT) | Quantity | ||||
|---|---|---|---|---|---|---|---|---|
| 1 | S8SD64 | Stockton 8 Double Sided - Main Grate | This part is now obsolete and can no longer be ordered as a spare. | |||||
| 2 | ST8D2DDS | ![]() |
Stockton 8 Double Door Mid Door Seal Brackets | This part is now obsolete and can no longer be ordered as a spare. | ||||
| 3 | S8SD28 | Stockton 8 Double Sided Mk1 Ashpan | In Stock £187.58 | |||||
| 4 | SM55 | Stockton Ashpan Tool | In Stock £36.07 | |||||
| 5 | S8SD65 | Stockton 8 Double Sided - Side Grate Support | This part is now obsolete and can no longer be ordered as a spare. | |||||
Do you have the correct appliance?
Before ordering your parts please ensure you have selected the correct appliance. To properly identify your appliance you will need to know your serial number and/or model number. Please use the following guide to help locate your data badge which contains your serial and model number information.
MODEL NUMBERS:
7113SD 7113SDBL 7113SDBR 7113SDGR 7113SDHC 7113SDHCBL 7113SDHCBR 7113SDHCGR
DIMENSIONS:
603 x 620 x 507mm (w x h x d)
PDF Documents:









