MK1.75 Studio 3 Freestanding Fire – Launched 2019
RVFST-3EU
| Ref. | Product Code | Description | Price (inc VAT) | Quantity | ||
|---|---|---|---|---|---|---|
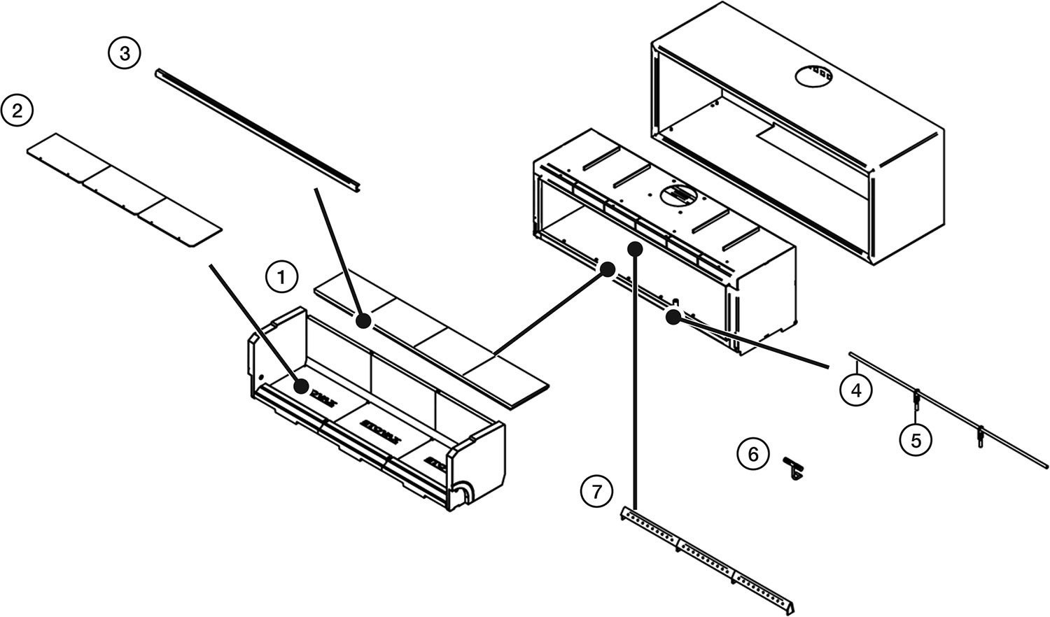
| 1 | RVS-MEC11573 | Studio 3 Mk1.75 Firebrick and Baffle Brick Set Firebricks have been upgraded. If this is the first upgraded set you are purchasing then x1 RVS-MEC10590 listed under number 7 will also need to be purchased.
| In Stock £464.35 | |||
| 1a | RVS-MEC12153 | Studio 3 Mk1.5 Baffle Brick Set | In Stock £143.20 | |||
| 2 | MEC11330 | Studio 3 Mk1.75 Base Brick Protector Set | In Stock £198.70 | |||
| 3 | RVS-RA503531 | Studio 3 Mk1.5 Baffle Brick Support | In Stock £102.78 | |||
| 4 | RVS-ME601402 | Studio 3 Mk1.5 Log Guard Bar | In Stock £219.00 | |||
| 5 | RVS-MEC8500 | ![]() |
Studio Log Bar Support | In Stock £63.83 | ||
| 6 | RVS-MEC9161 | Studio 3 Mk1.5 Door Tool | Available to Order £82.43 | |||
| 7 | RVS-MEC10590 | Studio 3 Firebrick Assembly Steel Upgrade Set This is the upgraded steel section for Firebrick Set RVS-MEC11573
| In Stock £224.89 |
Do you have the correct appliance?
Before ordering your parts please ensure you have selected the correct appliance. To properly identify your appliance you will need to know your serial number and/or model number. Please use the following guide to help locate your data badge which contains your serial and model number information.
| Ref. | Product Code | Description | Price (inc VAT) | Quantity | ||
|---|---|---|---|---|---|---|
| 1 | 5704 | 13mm Black Rope Seal with Adhesive - 3.5m Pack Door Seal
| In Stock £78.00 | |||
| 2 | RVS-MEC9446 | Riva Studio 3 Hinge Assembly Kit | In Stock £376.30 | |||
| 3 | CE7499 | Studio 3 Door Glass Dimensions: 1297 x 406mm (w x h)
| Available to Order £491.74 | |||
| 4 | RVS-MEC8300 | Studio 3 Complete Door Assembly | In Stock £1,586.18 | |||
| 5705 | 40mm x 2mm Self Adhesive Tape Seal - 3.4m Pack Glass Seal
| In Stock £21.76 |
Do you have the correct appliance?
Before ordering your parts please ensure you have selected the correct appliance. To properly identify your appliance you will need to know your serial number and/or model number. Please use the following guide to help locate your data badge which contains your serial and model number information.
MODEL NUMBERS:
RVFST-3EU
DIMENSIONS:
745 x 497 x 350mm (w x h x d)




